jednotlivy cenik

NOŽOVÁ ŠOUPATA
RBR-HC-VA

 


 

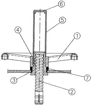
Pol. Popis Materiál Množství
1 Ruční kolo Uhlíková ocel 1
2 Vřeteno AISI-303/AISI-316 1
3 Vřetenová matice Bronz 1
4 Klíč Uhlíková ocel 1
5 Víko Uhlíková ocel 1
6 Víčko Plast 1
7 Ložisko Nylon 1