jednotlivy cenik

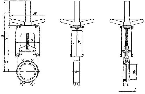
NOŽOVÁ ŠOUPATA
RBR-HC-VA
Stoupající vřeteno

 


 

DN A B C D E průměr
F
G H   Kg PN
50 50 350 115 140 95 200 117 68   7 10
65 50 385 120 155 110 200 132 68   8 10
80 50 415 130 170 115 200 150 72   9 10
100 50 472 145 196 131 200 170 72   10 10
125 50 542 155 223 164 250 197 80   15 8
150 60 610 176 254 180 250 224 80   19 8
200 60 765 204 318 243 300 291 90   25 8
250 65 902 255 364 283 300 333 92   39 6
300 70 1057 305 424 328 350 395 95   53 6
350 90 1221 345 478 398 350 440 94   77 5
400 100 1422 400 554 468 500 543 101   119 5
500 110 1748 505 675 568 500 652 126   185 4
600 110 2073 620 795 658 500 752 120   253 3

Montáž mezi příruby PN10